本实用新型涉及套筒阀技术领域,尤其涉及一种新型套筒阀。

背景技术:
套筒调节阀又称笼式调节阀,其采用单座阀的阀体,在阀体内插入一个圆形套筒,根据不同需要的流量特性,在套筒上开不同形状的孔,开孔的套筒形状像笼,又俗称笼式调节阀。由阀体,套筒(阀笼),阀芯,阀杆,上阀盖,密封垫片,填料等零件组成。阀芯为圆筒式,在阀笼内上下动作,通过截通阀笼上开孔的有效面积来调节流量的大小,阀芯上设计压力平衡孔,能够有效消除作用在阀芯上下部分的轴向不平衡力。
目前的套筒阀在进行安装使用时,需要对两侧的水管进行安装固定,安装的效率低,并且固定后的稳定性差。
技术实现要素:
本实用新型的目的是为了解决现有技术中存在套筒阀在进行安装使用时,需要对两侧的水管进行安装固定,安装的效率低,并且固定后的稳定性差缺点,而提出的一种新型套筒阀。
为了实现上述目的,本实用新型采用了如下技术方案:
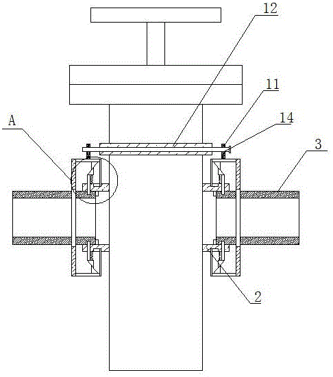
一种新型套筒阀,包括阀体,所述阀体的两侧均设置有连接管,连接管内卡装有水管,连接管的顶部和底部均开设有滑槽,滑槽内滑动安装有滑板,位于同一水平轴线上的两个滑板相互远离的一侧均固定安装有横板,相对应的两个横板的同一侧固定安装有同一个侧板,位于同一竖直轴线上的两个横板相互靠近的一侧均固定安装有第一三角板,连接管的顶部和底部均开设有密封孔,密封孔内滑动密封安装有卡板,水管的顶部和底部均开设有卡槽,卡板与卡槽相卡装,位于同一竖直轴线上的两个卡板相互远离的一侧均固定安装有第二三角板,第二三角板与第一三角板的斜面相接触,横板的顶部固定安装有固定板,阀体的一侧固定安装有连板,连板上开设有转孔,转孔内转动安装有转轴,转轴的外侧开设有两个外螺纹,固定板上开设有螺孔,转轴上的外螺纹与螺孔螺纹连接。
优选的,两个转轴上的外螺纹的旋向相反,两个螺孔内的螺孔旋向相反。
优选的,所述转轴的一端焊接有把手,且把手上设置有花纹,方便转动转轴。
优选的,所述卡槽的侧壁上安装有密封圈,且卡板与相对应密封圈的内侧滑动密封接触,保证卡板卡入卡槽内的密封性。
优选的,所述侧板上开设有通孔,且水管与通孔的侧壁不接触,能够使得侧板进行移动。
优选的,位于同一竖直轴线上的两个第二三角板相互靠近的一侧均焊接有弹簧,位于同一竖直轴线上的两个弹簧相互靠近的一端分别焊接于连接管的顶部和底部。
本实用新型中,所述一种新型套筒阀,当需要对水管进行安装时,将水管插入到连接管中,然后转动把手,把手带动转轴进行转动,带动两个固定板向相互靠近的方向进行移动,固定板带动横板进行移动,横板带动滑板进行移动,横板带动侧板进行移动,横板带动第一三角板进行移动,第一三角板带动第二三角板进行移动,第二三角板带动卡板进行移动,第二三角板挤压弹簧,使得卡板卡入到卡槽中,能够使得四个卡板同时卡入相对应的卡槽内。
本实用新型实用性好,能够同时对两个水管进行安装固定,操作简单,安装效率高。
附图说明
图1为本实用新型提出的一种新型套筒阀的结构示意图;
图2为本实用新型提出的一种新型套筒阀的a部分的结构示意图;
图3为本实用新型提出的一种新型套筒阀的阀体与连板连接的侧视结构示意图。
图中:1阀体、2连接管、3水管、4滑板、5横板、6侧板、7第一三角板、8卡板、9第二三角板、10弹簧、11固定板、12连板、13转轴、14螺孔、15卡槽。
具体实施方式
下面将结合本实用新型实施例中的附图,对本实用新型实施例中的技术方案进行清楚、完整地描述,显然,所描述的实施例仅仅是本实用新型一部分实施例,而不是全部的实施例。
实施例一
参照图1-3,一种新型套筒阀,包括阀体1,阀体1的两侧均设置有连接管2,连接管2内卡装有水管3,连接管2的顶部和底部均开设有滑槽,滑槽内滑动安装有滑板4,位于同一水平轴线上的两个滑板4相互远离的一侧均固定安装有横板5,相对应的两个横板5的同一侧固定安装有同一个侧板6,位于同一竖直轴线上的两个横板5相互靠近的一侧均固定安装有第一三角板7,连接管2的顶部和底部均开设有密封孔,密封孔内滑动密封安装有卡板8,水管3的顶部和底部均开设有卡槽15,卡板8与卡槽15相卡装,位于同一竖直轴线上的两个卡板8相互远离的一侧均固定安装有第二三角板9,第二三角板9与第一三角板7的斜面相接触,横板5的顶部固定安装有固定板11,阀体1的一侧固定安装有连板12,连板12上开设有转孔,转孔内转动安装有转轴13,转轴13的外侧开设有两个外螺纹,固定板11上开设有螺孔14,转轴13上的外螺纹与螺孔14螺纹连接。
本实用新型中,两个转轴13上的外螺纹的旋向相反,两个螺孔14内的螺孔旋向相反。
本实用新型中,转轴13的一端焊接有把手,且把手上设置有花纹。
本实用新型中,卡槽15的侧壁上安装有密封圈,且卡板8与相对应密封圈的内侧滑动密封接触。
本实用新型中,侧板6上开设有通孔,且水管3与通孔的侧壁不接触。
本实用新型中,位于同一竖直轴线上的两个第二三角板9相互靠近的一侧均焊接有弹簧10,位于同一竖直轴线上的两个弹簧10相互靠近的一端分别焊接于连接管2的顶部和底部。
实施例二
参照图1-3,一种新型套筒阀,包括阀体1,阀体1的两侧均设置有连接管2,连接管2内卡装有水管3,连接管2的顶部和底部均开设有滑槽,滑槽内滑动安装有滑板4,位于同一水平轴线上的两个滑板4相互远离的一侧均通过螺栓固定安装有横板5,相对应的两个横板5的同一侧通过螺栓固定安装有同一个侧板6,位于同一竖直轴线上的两个横板5相互靠近的一侧均通过螺栓固定安装有第一三角板7,连接管2的顶部和底部均开设有密封孔,密封孔内滑动密封安装有卡板8,水管3的顶部和底部均开设有卡槽15,卡板8与卡槽15相卡装,位于同一竖直轴线上的两个卡板8相互远离的一侧均通过螺栓固定安装有第二三角板9,第二三角板9与第一三角板7的斜面相接触,横板5的顶部通过螺栓固定安装有固定板11,阀体1的一侧通过螺栓固定安装有连板12,连板12上开设有转孔,转孔内转动安装有转轴13,转轴13的外侧开设有两个外螺纹,固定板11上开设有螺孔14,转轴13上的外螺纹与螺孔14螺纹连接。
本实用新型中,两个转轴13上的外螺纹的旋向相反,两个螺孔14内的螺孔旋向相反。
本实用新型中,转轴13的一端焊接有把手,且把手上设置有花纹,方便转动转轴13。
本实用新型中,卡槽15的侧壁上安装有密封圈,且卡板8与相对应密封圈的内侧滑动密封接触,保证卡板8卡入卡槽15内的密封性。
本实用新型中,侧板6上开设有通孔,且水管3与通孔的侧壁不接触,能够使得侧板6进行移动。
本实用新型中,位于同一竖直轴线上的两个第二三角板9相互靠近的一侧均焊接有弹簧10,位于同一竖直轴线上的两个弹簧10相互靠近的一端分别焊接于连接管2的顶部和底部。
本实用新型中,使用中,当需要对水管3进行安装时,将水管3插入到连接管2中,然后转动把手,把手带动转轴13进行转动,转轴13上的外螺纹与螺孔14螺纹连接,带动两个固定板11向相互靠近的方向进行移动,固定板11带动横板5进行移动,横板5带动滑板4进行移动,横板5带动侧板6进行移动,横板5带动第一三角板7进行移动,第一三角板7挤压第二三角板9带动第二三角板9进行移动,第二三角板9带动卡板8进行移动,第二三角板9挤压弹簧10,使得卡板8卡入到卡槽15中,能够使得四个卡板8同时卡入相对应的卡槽15内,能够同时对两个水管3进行安装固定,操作简单,安装效率高。
以上所述,仅为本实用新型较佳的具体实施方式,但本实用新型的保护范围并不局限于此,任何熟悉本技术领域的技术人员在本实用新型揭露的技术范围内,根据本实用新型的技术方案及其实用新型构思加以等同替换或改变,都应涵盖在本实用新型的保护范围之内。
技术特征:
1.一种新型套筒阀,包括阀体(1),其特征在于,所述阀体(1)的两侧均设置有连接管(2),连接管(2)内卡装有水管(3),连接管(2)的顶部和底部均开设有滑槽,滑槽内滑动安装有滑板(4),位于同一水平轴线上的两个滑板(4)相互远离的一侧均固定安装有横板(5),相对应的两个横板(5)的同一侧固定安装有同一个侧板(6),位于同一竖直轴线上的两个横板(5)相互靠近的一侧均固定安装有第一三角板(7),连接管(2)的顶部和底部均开设有密封孔,密封孔内滑动密封安装有卡板(8),水管(3)的顶部和底部均开设有卡槽(15),卡板(8)与卡槽(15)相卡装,位于同一竖直轴线上的两个卡板(8)相互远离的一侧均固定安装有第二三角板(9),第二三角板(9)与第一三角板(7)的斜面相接触,横板(5)的顶部固定安装有固定板(11),阀体(1)的一侧固定安装有连板(12),连板(12)上开设有转孔,转孔内转动安装有转轴(13),转轴(13)的外侧开设有两个外螺纹,固定板(11)上开设有螺孔(14),转轴(13)上的外螺纹与螺孔(14)螺纹连接。
2.根据权利要求1所述的一种新型套筒阀,其特征在于,两个转轴(13)上的外螺纹的旋向相反,两个螺孔(14)内的螺孔旋向相反。
3.根据权利要求1所述的一种新型套筒阀,其特征在于,所述转轴(13)的一端焊接有把手,且把手上设置有花纹。
4.根据权利要求1所述的一种新型套筒阀,其特征在于,所述卡槽(15)的侧壁上安装有密封圈,且卡板(8)与相对应密封圈的内侧滑动密封接触。
5.根据权利要求1所述的一种新型套筒阀,其特征在于,所述侧板(6)上开设有通孔,且水管(3)与通孔的侧壁不接触。
6.根据权利要求1所述的一种新型套筒阀,其特征在于,位于同一竖直轴线上的两个第二三角板(9)相互靠近的一侧均焊接有弹簧(10),位于同一竖直轴线上的两个弹簧(10)相互靠近的一端分别焊接于连接管(2)的顶部和底部。
技术总结
本实用新型属于套筒阀领域,尤其是一种新型套筒阀,针对现有的套筒阀在进行安装使用时,需要对两侧的水管进行安装固定,安装的效率低,并且固定后的稳定性差问题,现提出如下方案,其包括阀体,所述阀体的两侧均设置有连接管,连接管内卡装有水管,连接管的顶部和底部均开设有滑槽,滑槽内滑动安装有滑板,位于同一水平轴线上的两个滑板相互远离的一侧均固定安装有横板,相对应的两个横板的同一侧固定安装有同一个侧板,位于同一竖直轴线上的两个横板相互靠近的一侧均固定安装有第一三角板,连接管的顶部和底部均开设有密封孔。本实用新型实用性好,能够同时对两个水管进行安装固定,操作简单,安装效率高。
浙公网安备 33032402001884号
技术支持:云鼎科技